English繁體中文
  • 關於我們
  • 產品介紹
  • 比較表
  • 檔案分享
  • 聯絡我們
  • 網站地圖
banner04 inner_banner_1 inner_banner_2 inner_banner_3
搜 尋
產品介紹
限位開關
重載限位開關
微動開關
電梯開關
安全開關
起重機和機械輸送限位開關
工業腳踏開關
醫療腳踏開關
首頁 > 產品介紹 > 安全開關 > 鑰匙安全開關 > SN-K2

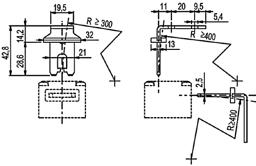
SN-K2

SN-K2
詢價 上一筆 下一筆
  • 產品特性
  • 產品規格

* 不銹鋼材料

Other Products
<<

SN-K4

SN-K1

SND2191

SMN4191

SND-K1

SND-K2

SN6191

SND4191

>>
© 2014 康士可電機有限公司
回頁首 mail 公司位置 網站地圖

臺北市內湖區民權東路6段16之3號2樓

+886-2-27953377 allan1127@gmail.com